Full speed | 100rpm shifting under full load

WHAT? 

⦿ This is our HiT Transmission.  It is a prototype Gearbox based on unique hinged ring-clusters for changing gears all while under load. 

⦿ The HiT Gear Box has been an R&D “Skunk Works” project at our Santa Cruz, California office.

⦿ Ring segments swing on a hinge in and out from the loaded chain which sets the gearing. These hinged rings allow the transmission to stay compact and keep a constant chain line across all the gears. (The chain does NOT move laterally)

HIT GEAR BOX
GB DE CALIPER
RyanSoldering
HIT CHAIN 2 SQ
GB Install SQ

WHY? 

⦿ We believe a GearBox is the way forward for the majority of bicycles.  The HiT can be applied to a variety of different types of bicycles such as DH, mountain, pavement and cargo.  We have been riding and testing both MTN and Pavement versions of it for the past couple of years.

⦿ Design, Build, Ride and Repeat; that's what we've been doing. In fact, we have been out on the trails riding versions of HiT for the past two years giving it a real world beat down.  With the conversations about Gearboxes getting louder and louder we thought it's time to share our prototype, how it works and its potential.

⦿ Praxis is mostly known for our cranks, chainrings, and bottom brackets, but behind the scenes we continued innovating in new drivetrain areas.

⦿ As an engineering-driven company committed to advancing the bicycle, we developed the HiT GearBox to showcase its unique functionality and look at possibilities for riders.  

Screenshot
Screenshot
Screenshot
PatentRyanCAD
Screenshot

HOW? 

⦿ We are still exploring the options as the next step in the development is combining it with an eBike motor.

⦿ We are looking for the right partner to help develop the HiT beyond our current capabilities.  This includes potentially finding partners for manufacturing, service, and/or licensing agreement.

⦿ Currently, we are talking to multiple brands about partnership/potential projects using the HiT Gear Box.  

HiT MTN

HIGHLIGHTS

⦿ Shifts under full load!

⦿ Chain driven transmission

⦿ Can be designed as 4sp to 16sp

⦿ Optimized internal chainline

⦿ Electronic shifting

⦿ Programmable/Auto shifting

⦿ Direct Shift (One touch Sweep/Dump)

⦿ Designed for serviceability

Can be made as Concentric or NonConcentric

Pavement Concentric

MTN NonConcentric

(High Pivot MTN)

GOAL : eBike

We have already built, ridden and tested the HiT gear box on mountain and pavement bikes.  However to fully realize the potential, our next step is integrating it with an eBike mid-motor.

Watch the ring segments in Slow Motion...

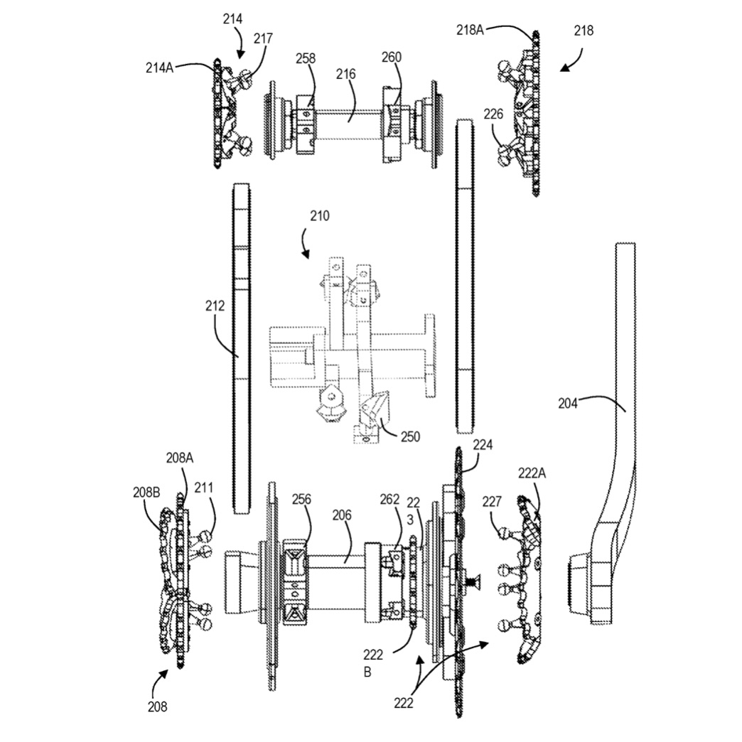
GB EXPLODED LABELS.1

CALFEE CONCEPT BIKE

 4sp HiT with Mahle eHub Motor for a Super-Commuter

FAQ - DEEP DIVE

What is HiT?
Why is Praxis showing this?
What kind of bike is this for?
How are you moving forward?
What is the goal of the HiT Gear Box?
SIZE | It is kind of big, can it be made smaller?
ELECTRONIC | Is it electric or cable actuated?
MOUNTING - Does this use the Pinion or other mounting?
BELT - Does this use belts?
WEIGHT - What is the weight?
GEARING - What are the gear count possibilities?
COMPARISON | vs a conventional bicycle drivetrain...
COMPARISON | vs the other Gear Box seen like Pinion
COMPARISON | Is this similar to the Honda old GearBox?
SERVICE | What is the serviceability like?
PATENTS - Any relations to other systems?
BIKE | Is Praxis or other brand producing a bicycle with this?

INTERESTED IN HiT?

We are looking to collaborate and partner with industry Brands. If interested in HiT and learning more about partnership please contact us here.

    Your Full Name(required)

    Your Email(required)

    Company/Brand(required)

    Gearbox Subject(required)

    City:(required)

    State / Province :(required)

    Country:(required)

    Phone Number:(required)